本文摘要: 大家好,今天来为大家分享南昌战疫情的一些知识点,和南昌疫情紧急通知的问题解析,大家要是都明白,那么可以忽略,如果不太清楚的话可以看看本篇文章,相信很大概率可以解决您的问题,接下来我们就一起来看看吧!江西南昌现在可以正常出入吗江西南昌现在确实可以正常出入。
大家好,今天来为大家分享南昌战疫情的一些知识点,和南昌疫情紧急通知的问题解析,大家要是都明白,那么可以忽略,如果不太清楚的话可以看看本篇文章,相信很大概率可以解决您的问题,接下来我们就一起来看看吧!
江西南昌现在可以正常出入吗
江西南昌现在确实可以正常出入。在这一年多的疫情中,对南昌而言,它一直是一个较为安全的城市。无论是去年的武汉,还是今年陆续出现疫情的城市,南昌的防疫措施都显得相对到位,没有出现大规模的疫情爆发。这说明南昌市政府对防疫工作的重视和努力,也显示了市民的积极配合。
据我所知,现在南昌火车站是低风险地区。疫情防控最近更新时间为2022年7月17日17时,建议出行前先拨打当地电话询问最新离开南昌市的政策。自7月14日起,南昌车站和南昌西站进站和出站都需要查验48小时以内的核酸检测阴性证明。
江西南昌近来的防疫形势较为稳定,可以正常出入。在这次持续了一年多的疫情中,南昌始终是相对安全的城市之一。无论去年的武汉疫情,还是今年陆续出现的其他疫情城市,南昌的防控工作都做得较为到位,没有出现大规模的疫情爆发。这充分体现了南昌市政府对防疫工作的高度重视和有效管理。
南昌多少例
例。根据江西省卫生委员会2022年底的报告可知,2022年江西省患有艾滋病的总人数高达31199例,其中南昌市患有艾滋病的人数5479人。
年12月11日0-24时,江西省新增本土无症状感染者3例,南昌市3例,其中东湖区1例、青山湖区1例、南昌县1例。
截止2022年12月5日有。江西省新增本土无症状感染者170例,南昌市51例。南昌,简称“洪”或“昌”,古称豫章、洪都,江西省辖地级市、省会、国务院批复确定的中国长江中游地区重要的中心城市、鄱阳湖生态经济区中心城市。截至2021年末常住人口为6475万人。2021年,全市实现地区生产总值6650.53亿元。

南昌绳金塔派出所警员朱大强那里人
当日正值南昌市静态管理关键时期,清晨五点半,当负责值守老福山社区的民警朱大强到达核酸检测点岗位后,却看到早已在岗的邱娥国,“我是老党员了,遇到这样的大事,全市人民都动起来了,我有责任也有义务做些分内的事。”他说,“共产党员,关键时刻要站出来。”老福山社区是邱娥国同志所居住的社区。

新时代先进人物事迹
郭明义:胡锦涛总书记对鞍山钢铁集团郭明义同志先进事迹作出重要批示:郭明义同志是助人为乐的道德模范,是新时期学习实践雷锋精神的优秀代表。要大力宣传和弘扬郭明义同志的先进事迹和崇高品德,为构建社会主义和谐社会提供强大精神力量。
新时代英雄模范人物的事迹举例如下。张定宇:宇定光自发。57岁,武汉市金银潭医院院长,被授予人民英雄国家荣誉称号。武汉市金银潭医院是最早接诊新冠患者的定点医院,收治病人全部为重症和危重症患者,是抗击疫情的最前沿。
黄文秀:北师大硕士黄文秀毕业后毅然回到家乡,担任驻村第一书记。在她的努力下,村里引进了砂糖橘种植技术,村民学会了电商运营,每个村都建起了垃圾池。在她的带领下,103户贫困户中有88户成功脱贫,村集体经济项目收入也实现了翻倍。

【华宏·星闻】众志成城战疫情,华宏奔驰在行动
〖One〗、月24日,华宏奔驰望城旗舰店组织爱心车队接送医护人员,共派出16台车、16位司机。清晨5点,华宏人已经整装待发,要在七点前精准无误的把每一位医护人员护送至指定检测点。
〖Two〗、北汽福田25辆、上汽大通60辆、华晨汽车30辆,江铃福特已接到救护车订单1000辆,其中包括福特全顺负压救护车订单200辆。同时,福建奔驰20辆威霆负压救护基型车完成出库,已发往北京和浙江。上述救护车合计金额约2亿元(不含医疗设备)。

江西省哪里疫情严重
截止到2022年12月3日,江西疫情修水县、南丰县最严重。经查询江西省疫情最新信息可知,截止到2022年12月3日,江西疫情修水县、南丰县最严重。江西,简称赣,中国23个省之一,省会南昌。江西位于中国东南部,长江中下游南岸,属于华东地区。
江西上饶。如今江西疫情最严重的是在上饶万年,2022年4月25日,整个江西省新增本土确诊病例91例,除南昌市有二例外,89例都在上饶万年。
通过查询相关资料显示,江西省南昌疫情严重,截止至2022年12月12日,江西省南昌市现有11个风险地区,是江西省风险地区比较多的地区,所以江西省南昌疫情严重。具体消息可关注官方网站,获得第一手权威信息。
南昌市。通过查询江西省疫情防控中心发布公告了解到:截止到2022年12月9日江西省地区的南昌市疫情最为严重,其次是九江、上饶。

南昌疫情防控中心24小时电话
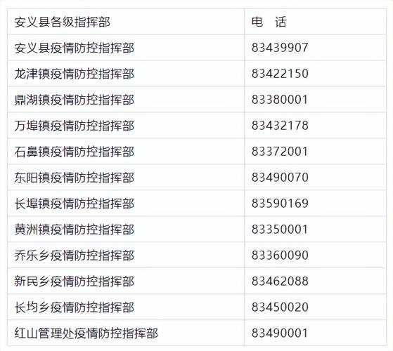
〖One〗、南昌防疫询问24小时电话为,0791-83883362。南昌市:83883362/83883018。南昌县:85720035。进贤县:85622060。安义县:83439970。东湖区:86853926。西湖区:18942210845。青云谱区:88460309。
〖Two〗、电话号码:0791-83111054;『4』、南昌经开区樵舍镇指挥部:电话号码:0791-87587953;『5』、南昌经开区白水湖管理处指挥部:电话号码:0791-83814110;『6』、南昌经开区冠山管理处指挥部:电话号码:0791-87701083。南昌市疫情防控政策措施 是严格人员流动管理。
〖Three〗、江西疫情防控询问电话:0791-12320。拨通后根据语音提示,输入相应按键,即可转接人工客服,直接向人工询问相关问题即可,广大群众尽量减少走亲访友,提倡网上拜年短信祝福,倡导红事缓办白事简办,个人家庭聚集尽量控制在10人以下,各单位一律取消集体团拜和大型慰问联欢聚餐年会等活动。
〖Four〗、南昌防疫询问24小时电话:83883362。非必要不离昌,如要离昌需持24小时核酸检测报告证明。坚持非必要不出境,严格限制前往中高风险地区或有本土病例报告地区所在县(市、区、旗),非必要不前往中高风险地区或有本土病例报告地区所在地市的其他县(市、区、旗)。

南昌什么情况
南昌气候概述:南昌位于亚热带地区,拥有亚热带季风气候。这种气候提供了充足的热量和雨水,但也伴随着较大的气温波动和降水不均,导致常见的气象灾害。 气温波动:南昌的平均气温在11至18摄氏度之间,夏季高温可达40摄氏度以上,冬季低温可降至-10摄氏度以下。
总的来说,南昌近来情况良好,是一个充满活力和文化底蕴的城市。如果你指的是南昌的疫情防控情况,近来南昌的疫情防控形势总体稳定。政府和相关部门采取了一系列有效措施,加强了疫情防控工作,保障了市民的健康和安全。
当前(2024-05-31)南昌天气情况为多云,气温为27摄氏度,风向为西北风1级,湿度为86%,空气质量为34。 未来7天的天气预报如下:- (2024-05-31):白天有阵雨,比较高气温22摄氏度,风向为东风,风力小于3级。夜间有阵雨,最低气温18摄氏度,风向为西北风,风力小于3级。
经济发展状况复杂 南昌作为江西省的省会城市,近年来经济发展取得了一定的成就。然而,经济发展水平与一些发达城市相比仍存在一定的差距。这种差距可能是由于产业结构、创新能力等多方面因素造成的。南昌在部分领域如航空、电子信息等新兴产业有一定的优势,但传统产业比重较大,转型升级任务繁重。
关于南昌战疫情到此分享完毕,希望能帮助到您。
